FINALNA POTROŠNJA I ENERGETSKA EFIKASNOST
Sadržaj
- 1 Finalna potrošnja i energetska efikasnost
- 2 Energija u poljoprivredi i šumarstvu
- 3 Energija u industriji
- 4 Zgradarstvo - Grijanje i hlađenje
- 5 Kućanski aparati
- 6 Energija u uslugama
- 7 Transport
- 7.1 Trendovi u transportu
- 7.1.1 Porast cestovnog transporta - osobna potrošnja i privreda
- 7.1.2 Granice porasta cestovnog prometa
- 7.1.3 Štete od posljedica takvog rasta cestovnog prometa
- 7.1.4 Prednosti cestovnog prometa
- 7.1.5 Prednosti i nedostaci željezničkog prometa
- 7.1.6 Prednosti i nedostaci javnog prijevoza
- 7.1.7 Smanjenje potrošnje goriva povećanjem efikasnosti
- 7.2 Congestion dilemma
- 7.3 Road pricing
- 7.4 Zaključak
- 7.1 Trendovi u transportu
Finalna potrošnja i energetska efikasnost
Energija u poljoprivredi i šumarstvu
Energija u industriji
Sadržaj:
1. Uvod
2. Dobivanje potpore od uprave
3. Osnivanje baze podataka o energiji
4. Pregled utroška energije
5. Utvrđivanje, procjena i provedba izvedivih načina za očuvanje energije
6. Nadzor, ocjena i praćenje učinaka mjera/projekata za uštedu energije
Dodatak
Preuzeto prvo poglavlje iz knjige: Charles M. Gottschalk: Industrial Enegy Conservation, UNESCO Energy Engineering Series, John Wiley & Sons Ltd., Chicester, West Sussex, UK, 1996.
CILJ
Cilj je ovog poglavlja da se shvati koje su ekonomske koristi od očuvanja energije u okviru određenog industrijskog područja.
ZADATCI
Nakon što pročitate ovo poglavlje, morali biste biti u stanju:
1. Utvrditi mehanizme upravljanja i osoblja potrebne za pregled potrošnje energije u određenom poduzeću.
2. Utvrditi područja gdje je moguće postići uštede energije.
3. Odrediti čvrste smjernice za mjerenje i provjeru tekuće potrošnje energije u svakom odjelu kojeg se nadzire.
4. Razraditi alternativne načine za smanjenje potrošnje energije, otklanjanjem otpadnih materijala, poboljšanjem održavanja, ulaganjem u nabavku novih strojeva ili izmjenom postupaka.
5. Odrediti troškove opcija za štednju energije i izraditi prijedloge u privremenom izvješću za upravu.
Uvod
Osjeća se velika potreba za štednjom energije, posebice u industriji i trgovini, budući da troškovi energije čine znatan udio u sveukupnoj strukturi troškova poslovanja.
Kod razmatranja ovog programa za uštedu energije, postoje barem pet važnih elemenata koje je potrebno uzeti u obzir kako bi se došlo do uspješne provedbe:
1. Dobivanje potpore od uprave
2. Osnivanje baze podataka o energiji
3. Pregled utroška energije
4. Utvrđivanje, procjena i provedba izvedivih načina za očuvanje energije
5. Nadzor, ocjena i praćenje učinaka mjera/projekata za uštedu energije
To je jasno prikazano na slici br. 1. gdje je prikazan proces štednje energije na razini poduzeća.
Dobivanje potpore uprave
Za glavnu upravu je važno naglasiti razloge za štednju energije kao i odgovornost zaposlenika da predlažu i/ili provode zamisli o štednji energije, prijedloge i mjere iz njihova djelokruga.
Glavna uprava bi trebala osnovati poseban radnu skupinu ili odbor za štednju energije. Tipski, ona se sastoji od predstavnika iz svakog poslovnog odjela s voditeljem kojeg imenuje i koji odgovara upravi. U većini organizacija, malih ili velikih, voditelj skupine za štednju energije i predstavnici iz poslovnih odjela bave se aktivnostima na štednji energije honorarno, tj. to su dodatni zadatci uz njihove normalne dužnosti i odgovornosti.
Dane su šire smjernice za radnu skupinu ili odbor. Od njih se očekuje da razmatraju mogućnosti uštede energije u različitim dijelovima poslovanja ili odjelima, te da potaknu program stalnog djelovanja na poticanju zanimanja i sudjelovanja u naporima za štednjom energije kao i u provedbi mjera za štednju energije.
Djelovanje radne skupine/odbora za štednju energije
Nakon što dobije obvezu od glavne uprave, radna skupina/odbor za štednju energije može razraditi zadatke kako slijedi:
1. Organizirati se i dobiti potporu i suradnju zaposlenika. To se može postići tako što će se, povremeno, organizirati sastanci na kojima će se razgovarati o zamislima o štednji energije, aktivnostima, programima i postignućima.
2. Izrađivati akcijske planove za poticanje zanimanja za napore na štednji energije.
3. Pripremati zadatke ili ciljeve za štednju energije.
4. Poboljšati način korištenja goriva.
5. Stalno informirati zaposlenike i upravu o najnovijim događajima u svezi s programom štednje energije.
6. Koristiti usluge tehničke pomoći od stručnih organizacija, zavoda i vladinih ustanova u pregledu potrošnje energije i ocjeni mjera/projekata za štednju energije. Podnositi izvješća o energiji, organizirati orijentacijske i tečajeve za obuku na radnom mjestu, prezentacije itd.
7. Uspostaviti sustav nadzora, izvješćivanja i ocjene programa.
Osnivanje baze podataka o energiji
Mi uvijek želimo što učinkovitije trošiti energiju, smanjiti troškove proizvodnje, smanjiti greške i otpatke u proizvodnji i ostvariti dobit čak i u vrijeme visokih troškova energije.
Bitno je imati potpunu i urednu evidenciju s podatcima o potrošnji energije. Ona pomaže upravi da shvati neophodnost izrade programa za štednju energije., usredotočuje pozornost na radnje kojima će se istražiti mogućnosti područja za štednju energije ili opravdava radnje na produktivnijem korištenju ograničene radne snage i novčanih sredstava.
Bez odgovarajuće evidencije podataka o energiji i sustava izvješćivanja, voditelj skupine za štednju energije bit će na gubitku. On neće moći djelovati učinkovito. Njegove odluke mogle bi izazvati dvojbe.
Za početak, voditelj za energiju morao bi znati koliko je energije utrošeno i po kojim troškovima na razini poduzeća. Ti se podatci mogu razvrstati prema vrsta energije i krajnoj uporabi. Također je potrebno znati i konačni kapacitet proizvodnje. Tablica 1.1. može poslužiti kao polazište za prikupljanje tih podataka.
Kao što se može zaključiti, iz podataka će se vidjeti koji se postotak utrošene energije odnosi na naftu, čvrsta goriva i električnu energiju te koji se postotak te energije koristio za potrebe proizvodnje, neproizvodne djelatnosti, proizvodnju energije itd.
Omjer utrošene energije i proizvodnje je grubi pokazatelj intenziteta energije, tj. određenog korištenja energije, izraženog u energiji po jedinici proizvodnje. Dobar voditelj za energiju morao bi biti u stanju sniziti korištenje određene energije obzirom na ograničenja i uvjete pogonskih postrojenja. U tablici br. 1.2. prikazani su trendovi tijekom 1982-84. godine u korištenju određene energije za čitav niz područja industrije.
Voditelj za energiju može potom tražiti podatke o energiji po odjelima ili odsjecima i po glavnoj opremi, kao što je prikazano u tablici br. 1.3. Skupljanje informacija ove vrste prilično je mukotrpan posao i u većini slučajeva će zahtijevati istraživanja o tome koliko su dobro opremljeni poslovni objekti. Ovi se podatci o energiji mogu koristiti:
- kao osnovni podatci za ocjenu učinkovitosti programa za štednju energije,
- za utvrđivanje utjecaja mjera za štednju energije na smanjenje troškova,
- za utvrđivanje stvarnih učinaka mjera/projekata za štednju energije,
- utvrditi troškove proizvodnje za danu skupinu proizvoda.
Jednostavan prikaz korištenja energije u tvornici stakla nalazi se u tablicama 1.4. i 1.5. Može se vidjeti da 77% energije dolazi od naftnih goriva, a 23% od električne energije. Staklo, kao gotovi proizvod predstavlja samo 63% vučenog stakla. Isto tako, 80% pogonskog goriva koristi se u peći za izradu stakla.
U čeličani (Tablica 1.6.), uglavnom oko polovina energije potječe od naftnih goriva, druga polovica od električne energije. Samo 30% otpada na pogonsko gorivo.
Mjerenjem sve energije koja ulazi i izlazi iz tvornice u danom razdoblju je bitno za neku razumnu uštedu energije. U početku, to mjerenje može biti približno, ali se mora poboljšati kroz iskustvo i uz usvajanje dodatne opreme za mjerenje i nadzor.
Ova aktivnost zahtijeva dosta vremena i izazova, posebice kada se ide dalje i pokušava izračunati sadržaj energije u nečijim proizvodima. Međutim, to vrijedi truda, jer ćete biti u stanju:
- točno utvrditi koje sirovine sadrže i koji proizvodni procesi troše velike količine energije,
- opravdati zamjenu zastarjele opreme,
- poboljšati programe održavanja ili reaktivirati programe preventivnog održavanja,
- predlagati izmjene u sustavu kako bi se smanjile ponovljene operacije grijanja i hlađenja,
- uvesti bolje sustave kontrole temperature,
- predložiti izbacivanje neprofitabilnih proizvoda.
Tablica 1.7. prikazuje predloženi oblik i upute za izračun sadržaja energije u proizvodu. Tablica 1.8. prikazuje popis troškova energije za različite sirovine.
Pregled utroška energije
Pregled utroška energije je dubinsko ispitivanje sustava ili postrojenja koje troši energiju, čiji je cilj:
- utvrditi oblike energije koja se koristi,
- istražiti povijest korištenja energije podatke o troškovima,
- provjeriti tekuće podatke o energiji te preispitati radnu praksu i postupke,
- shvatiti strukturu cijene električne energije,
- ustanoviti poboljšani postupak vođenja evidencije o energiji,
- utvrditi odnos potrošnje energije i proizvodnje (tj. određenu potrošnju energije)
- otkriti moguća mjesta na kojima može doći do rasipanja energije,
- razraditi moguće mjere za smanjenje potrošnje energije.
Razine pregleda utroška energije
Veličina sredstava angažiranih za poslove pregleda utroška energije ovisi o ciljevima te operacije. Često dolazi do zbrke razine pregleda utroška energije, opsega posla i očekivanih razloga. Da bi se izbjegli nesporazumi, posebice među savjetodavcima i naručiteljima, treba biti jasno da se pregled utroška energije obavlja na tri razine aktivnosti:
1. Značaj prethodnog pregleda leži u bilježenju i analizi korištene energije po mjestu nastanka troškova u određenom razdoblju. To se može obaviti brzim obilaskom postrojenja i analizom računa za komunalije i gorivo. Vizualni pregled se obavlja radi utvrđivanja velikog broja mogućnosti za uštedu energije (tj. održavanje i pogon) i uvođenja potrebe za detaljnijom analizom. Ova faza traje 1-3 dana, ovisno o složenosti tvornice.
2. Detaljan pregled ili veliki pregled sastoji se od bilježenja svih podataka o korištenju energije za svako mjesto nastanka troškova u određenom vremenskom razdoblju i izračuna ostataka energije i učinkovitosti. Za ovo može biti potrebna pomoć prenosivih instrumenata za mjerenje/nadzor. To traje tjednima, a ponekad i mjesecima.
3. Pregled tvornice ili mali pregledi sastoje se od utvrđivanja očiglednih situacija gdje dolazi do rasipanja energije i davanja preporuka o mjerama za poboljšavanje održavanja i radnih postupaka. Za to je potrebno obaviti ispitivanja i mjerenja da bi se odredila količina korištene energije i gubitci. To također uključuje davanje preporuka i analizu mogućnosti za uštedu energije što zahtijeva manje izdatke ili veća ulaganja sredstava. Vrijeme za ovo ovisi o danim uvjetima.
Opseg analize utroška energije
Pregled utroška energije na razini tvornice normalno se usredotočuje na dva područja: analize preko pogonskih postrojenja, sustava ili mjesta nastanka troškova:
- tokova materijala
- tokova energije
Prije prilaženja detaljnom pregledu utroška energije, a posebice ako se traži pomoć izvana, preporučuje se da se prethodno obavi unutarnja studija kako slijedi:
Obavljanje pregleda utroška energije
Prvi se pregled odnosi na utvrđivanje i otklanjanje vidljivijih gubitaka energije kao što su:
- propuštanja pogonskog goriva
- propuštanja pare
- gole vruće površine koje treba izolirati
- plamenici koji se ne mogu podešavati
- visoka temperatura izlaznih plinova
- oprema u praznom hodu kada nije potrebna
- propuštanje tlačenog zraka, propuštanje plinova
- proizvodi s greškom
- nepotrebno rukovanje materijalima
- učestali prekidi proizvodnje/zatvaranje
- nepotrebne stanice za redukciju tlaka
- pokvareni instrumenti za nadzor
- pokvareni odvajači pare, pogrešno ugrađeni zaklopci pare
- začepljeni filtri puhaljki/kompresora
- prljav radni okoliš
- propuštanje kondenzata
- propuštanje vode
- prejaka rasvjeta
- prejaki rad klima uređaja/grijanja
Da bi se olakšao posao, preporučuje se izraditi prikladne obrasce za pregled utroška energija. U njima moraju biti sadržane informacije o približnim veličinama gubitaka energije i potrebne mjere za njihovo otklanjanje. U nekim situacijama, poželjno je dati pojedinosti o preporučenim inženjering radovima. U tablici 1.9. prikazan je tipski obrazac pregleda potrošnje energije u proizvodnim postrojenjima.
Pregled potrošnje energije također se može obavljati za posebna područja od interesa kao što su rasvjeta (tablica 1.10), ventilacija (tablice 1.11 i 1.12.) raspored korištenja objekta (1.13.) i preventivno održavanje (tablica 1.14.).
Provjera podataka o potrošnji energije
U većini slučajeva, povijesni podatci o energiji nisu bili propisno uneseni. Neko pogonsko osoblje imalo je tendenciju da unosi radne podatke koji nisu odražavali stvarno stanje. U najgorim slučajevima podatci su bili prikazani na evidencijskim listovima čak i kad su instrumenti bili u kvaru ili su oprema ili sustavi bili neispravni već izvjesno vrijeme.
Budući da podatke o energiji daju i koriste različite radne jedinice, mjerne jedinice koje se koriste nisu uvijek jednoobrazne, npr. broj komada na skladištu, broj paleta u računovodstvu, metričke tone u proizvodnji itd. To naravno dovodi do zabuna. Drugo o čemu treba voditi računa su razdoblja koja su uzeta za pregled utroška energije. Zbog velikog broja poslovnih transakcija i radnji, plaćanja ne moraju uvijek biti za jedan puni mjesec. Neka plaćanja mogu obuhvaćati dio prethodnog mjeseca. Tipičan primjer je račun za struju gdje se mjesečni obračun obavlja s 26. u prethodnom mjesecu, a 25. u sljedećem mjesecu.
Po potrebi može se raditi drugi i treći pregled. Treba se imati u vidu da ti pregledi mogu potrajati ako se radi o složenijem sustavu koji je predmet pregleda. Prije nego se priđe detaljnom pregledu utroška energije, preporučuje se obaviti pregled radi utvrđivanja opsega rada, provjere mjesta postojećih ili dodatnih instrumenata i procjene radnih uvjeta.
Nakon što se poboljša učinkovitost korištenja energije u tvornici kroz bolje mjere gospodarenja (bolji postupci rada i održavanja, raspored opterećenja itd.) i običnih mjera prilagođavanja, preporuča se obaviti detaljniji pregled potrošnje energije. Slika 2. prikazuje postupak pregled utroška energije.
Slika 2. Postupak pregled utroška energije
Ciljevi detaljnog pregleda utroška energije
Detaljna studija može se poduzeti posebice radi:
- praćenja studije o iznalaženju mogućnosti provedivosti štednje energije,
- postizanja energetske učinkovitosti važnije opreme (da bi se njihov rad doveo u projektirane uvjete ili ocijenilo njihovu korisnost/vijek trajanja itd.),
- utvrđivanja dodatnih izvora gubitaka, količinskog utvrđivanja i istraživanja mogućih korištenja/primjena,
- utvrđivanja i analize više mogućnosti uštede energije (pregled mogućnosti štednje energije koje prije nisu bile uzete o obzir, sada se mogu razmotriti),
- izrade srednjoročnog do dugoročnog programa štednje energije (radi bolje raspodjele novčanih sredstava).
Detaljan pregled utroška energije mora biti usredotočen na određene sustave i glavnu opremu kao što su:
1. Sustav pare: proizvodnja, distribucija, korištenje i odvajanje kondenzata
2. Sustav komprimiranog zraka: proizvodnja, distribucije, korištenje
3. Sustav crpki: motori, crpke, radni zahtjevi, ograničenja
4. Proizvodnja topline: peći, kotlovi za ponovno zagrijavanje
5. Sustav održavanja topline
6. Sustav klimatizacije: rashladna oprema, instrumenti, zahtjevi opterećenja
7. Izmjena na sustavu: povremeni rad do neprekidnog rada
8. Spajanje nekoliko linija postupaka
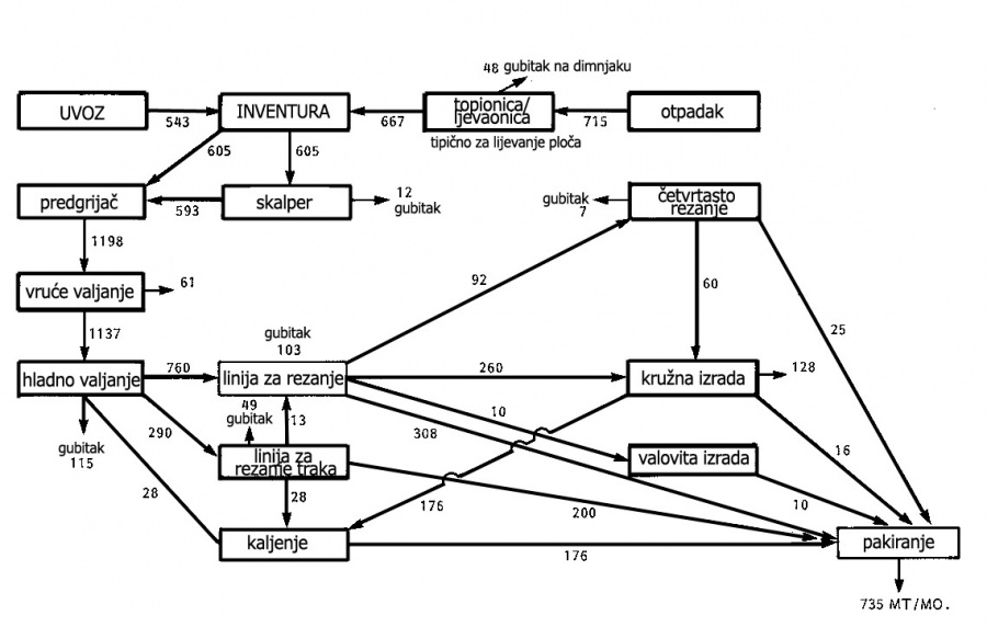
Slika 3. Tok materijala u čeličani (tona mjesečno)
Što pripraviti za detaljan pregled utroška energije
1. Utvrdite cilj(eve) Vaše ciljeve učinite što konkretnijima, vodeći računa o ograničenim sredstvima koja su na raspolaganju. Treba napomenuti da će pripreme za detaljnu analizu uslijediti iz posebnih ciljeva operacije.
2. Osnujte skupinu za pregled utroška energije Članovi moraju imati odgovarajuće tehničko znanje i stručnost glede danog sustava, opreme i rada postrojenja koje je predmet analize. Odredite vođu skupine kako bi koordinirao aktivnosti.
3. Utvrdite žurnost zadatka i osigurajte potrebno ljudstvo za potporu Pregled će se odvijati ovisno o broju mogućnosti za uštedu energije. Međutim, imajte u vidu da će biti potrebno obaviti odgovarajuće pripreme radi poduzimanja samog pregleda.
4. Osigurajte brzo razmatranje i ocjenu postojećih informacija, tekućih aktivnosti i radne prakse. To može obuhvaćati:
- vođenje bilješki, izvješćivanje, obračun energije
- podatke o radu tvornice (sadašnje i povijesne)
- sveukupne radne procese: specifičnu potrošnju energije, tokove materijala i energije (slike 3.-5.), dijagram odvijanja procesa (slika 6.), pomoćne službe, načine rada i održavanja
- instrumente: mjesto, uvjeti različitih pokaznih i kontrolnih instrumenata
- opremu: popis, uvjeti rada, projektni uvjeti, učinkovitost, kapacitet korištenja (tablice 1.15. i 1.16.)
- planiranje proizvodnje: različiti proizvodi (tablica 1.17.)
- ulazne materijale, energente
- ustroj organizacije (odgovornosti glede mjesta nastanka pogonskih troškova)
- vladini zahtjevi i poticaji, ako ih ima
5. Pripremite tvornička postrojenja za sakupljanje podataka i probni pogon, ako je potrebno. Obavite izvješćivanje zaposlenika kako biste dobili njihovu potporu i sudjelovanje, ako je potrebno
6. Odredite pravo vrijeme i trajanje akcije kako biste osigurali poželjne uvjete ispitivanja
7. Prije samo početka skupljanja podataka i provjere, osigurajte da: *su svi instrumenti izvan i na upravljačkoj ploči valjano baždareni *prenosivi instrumenti za usporednu provjeru također baždareni *su na raspolaganju standardni odgovarajući plinovi i uređaji za baždarenje *nazočnosti osoblja za održavanje i instrumente radi pomoći
8. Pripremite sve radne papire, obrasce za obavljanje pregleda, radne dnevnike i odgovarajuće crteže kao što su tok procesa i dijagrami instrumenata
Provedba aktivnosti na pregledu utroška energije
1. Pomno ispitajte sustav koji je predmet pregleda ili samu tvornicu i promatrajte trenutne radne uvjete i metode koje primjenjuje tvorničko osoblje.
2. U slučaju dvojbi, uzmite dodatne podatke pomoću prenosivih mjernih instrumenata.
3. Uzmite u obzir vrijeme prikupljanja podataka i radni ciklus, ako ih ima.
4. Razgovarajte s direktorom tvornice, područnim poslovođom, voditeljima smjene, direktorom za održavanje, tehničarima za instrumente i osobljem iz računovodstva, kad god je to potrebno radi potpunijeg informiranja.
5. Prije svega, sami sačinite svoje primjedbe.
Tijekom obavljanja pregleda utroška energije, imajte u vidu osnovna načela koja se odnose na sve vidove štednje energije, kako slijedi:
1. Potrebno je ispitati način i opseg korištenja svih energija, uključujući vrstu procesa, uravnoteženost sustava, veličinu opreme, veličinu tvornice, sustav za nadzor instrumenata itd. Potrebno je pomno procijeniti prateće dobiti.
2. Ako je to moguće, potrebno je utvrditi koliki je korisni rad kao i opseg neučinkovitosti za svaku fazu porasta/pada temperature i tlaka.
3. Suvišna toplina mora se moći iskoristiti i potrebno je utvrditi krajnjeg korisnika. Količina i kvaliteta suvišne topline, vrijeme korištenja i udaljenost od njezinog izvora moraju biti poznati. Pored toga, neto uštede moraju biti veće od mjerila za njezino obnavljanje i ulaganja.
4. Prividne uštede energije potrebno je pažljivo razmotriti kako bismo bili sigurni da nisu prouzročile neke druge troškove na drugom mjestu.
5. Svi oblici gubitka energije na odbačenim proizvodima. Paziti da toga bude što manje.
6. Ušteda energije uvelike ovisi o mjerenju. Da bi to bilo realno, potrebno je koristiti pouzdane instrumente i utvrditi referentne vrijednosti ispitivanja.
Ocjena podataka
Koristeći povijesne radne podatke i primarne podatke dobivene pomoću prenosivih instrumenata za ispitivanje, razmotrite i ocijenite jesu li podatci:
- prilično točni
- sumnjivi i potrebno je dodatno ispitivanje
- zanemareni i odbačeni
Ponovno, gdje je to potrebno, podrobno analizirajte sve podatke o potrošnji energije u procesu:
- Može li se oprema obnoviti kako bi se povećala toplinska učinkovitost?
- Može li neka faza u procesu biti pojednostavljena u cilju smanjenja korištene energije?
- Može li se bilanca sustava poboljšati kako bi se racionalizirala potrošnja energije?
- Može li se ostatak topline obnoviti za prikladno krajnje korištenje (tj. da se proizvodi para, topla voda ili za predgrijavanje materijala)?
- Može li se povećati iskorištenost kapaciteta?
- Može li se smanjiti količina proizvoda s greškom?
- Može li se pomoću boljih instrumenata smanjiti nepotrebna lutanja turnaround)?
- Opravdano je zamijeniti staru ili glomaznu opremu novom opremom koja zahtijeva manje prekida rada zbog energije ili popravaka tijekom održavanja.
Na osnovi ciljeva ove akcije, pokušati, gdje je to prikladno:
1. utvrditi bilancu materijala u sustavu koji je predmet obrade
2. sukladno tome izraditi bilancu energije
3. obaviti sveobuhvatnu analizu troškova/dobiti. Obaviti podroban elaborat o mogućim uštedama kroz:
- zamjenu goriva
- smanjenje gubitaka topline
- obnovu otpadne topline
- recikliranje otpadnih materijala
- bolje kontrolne instrumente
- izmjene u procesu
4. raspitati se kod drugih poduzeća o njihovom iskustvu s tehnologijama ili mjerama za štednju energije koje namjeravate usvojiti. Dodatne se informacije mogu zatražiti od nekog neovisnog uvaženog državnog tijela. Pazite se od neisprobanih tehnologija kojima nedostaje potrebna tehnička podloga.
I opet, na osnovi ciljeva pregleda utroška energije, pokušajte i izradite kratak prikaz podataka, gdje je to prikladno:
- ulaz energije za sirovine i energente
- neto energija koja ide na teret glavnog proizvoda
- udio energije koji se odnosi na nusproizvod
- rasuta ili bačena energija
- energija utrošena u raspolaganje otpadom
- energija po proizvodnji jedinice (usporediti s teoretskom ili projektiranom određenom energijom).
Na kraju, izračunajte neto ušteđenu energiju, izraženo u ukupnom iznosu kao odgovarajuće uštede u novcu ili kao postotak ukupno utrošene energije. Ili pak dajte grafički prikaz za određeno razdoblje i pokušajte uočiti međuodnose te doći do izvjesnih radnji koje treba poduzeti.
Utvrđivanje, procjena i provedba izvedivih načina za očuvanje energije
1. Napravite popis i razvrstajte mogućnosti za uštedu energije na:
- procese i održavanje koji zahtijevanju male novčane izdatke
- izmjene koje zahtijevaju skromne novčane izdatke
- izmjene koje zahtijevaju znatna ulaganja kapitala (tablica 1.22. prikazuje predloženi obrazac)
2. Ukratko opišite inženjering zamisao ili shemu za provedbu predloženih mjera za štednju energije (tablica 1.23.)
3. Izradite financijsku procjenu koja prikazuje uštede, potrebe za financiranjem, povrat on ulaganja ili otplatu, rizik itd. (vidi tablicu 1.24. za kratak prikaz ocjene projekta)
4. Ponovno razmotrite prijedloge projekta koji nisu bili uzeti u obzir za provedbu ili za dalje analize.
Tipičan primjer ocjene podataka o pregledu utroška energije za sustav kotlovnice izgleda kao što slijedi:
1. Polazni slučaj (prije poboljšanja): učinkovitost kotla je 75%, kod 8% viška O2 i na temperaturi izlaznog plina od 343o C (slika 1.13.).
2. Slučaj 1. (s ispravkom omjera zraka/goriva):
- učinkovitost kotla je 79,6, s 4% viška O2 i na temperaturi izlaznog plina od 329o C
- ušteda goriva iznosi 5,8% od ulaznog goriva (slika 1.14.)
3. Slučaj 2. (s ispravkom omjera zraka/goriva plus uređaj koji zagrijava vodu pomoću plinova koji idu u dimnjak:
- učinkovitost kotla je 86,2% , s 4% viška O2 i na temperaturi izlaznih plinova od 194o C
- uštede na gorivu su 7,7% od ulaznog goriva (slika 1.15.)
Slika 7. Polazni slučaj bilance energije na kotlu
Slika 8. Slučaj 1. bilance energije na kotlu (s podešavanjem omjera zrak/gorivo)
Slika 9. Slučaj 2. bilance energije na kotlu (slučaj 1. + uređaj za grijanje vode plinovima što idu u dimnjak)
Izvješće o pregledu utroška energije
Pregled utroška energije nije potpun bez opsežnog izvješća za upravu. Dobro izvješće sadrži sljedeće:
- izvršni prikaz koji ističe cilj programa, svrhu pregleda utroška energije, nalaze tog pregleda ukazujući na moguće uštede, zahtjeve glede financiranja i radne snage, pozitivne i negativne učinke, sveopće implikacije i, iznad svega, prijedlog mjera koje treba poduzeti
- opsežno tehničko izvješće o obavljenom pregledu utroška energije u kojem se prikazuju:
a) temeljne informacije, tj. pregled tvornice i pregled energije
b) opći pristup
c) odgovarajuće opise:
- opće stanje pogonskih postrojenja
- potrošnja i distribucija energije
- određena potrošnja energije
- glavni potrošači energije
- sustav pohrane i distribucije goriva
- sustav kotlova
- sustav peći/sušenja
- sustav generatora
- obrada vode
- procesne operacije, po važnijoj opremi
d) nalazi, po određenim terminima, za svaki sustav koji se može identificirati, odjel ili mjesto stvaranja troškova
e) analiza podataka o energiji
f) preporuke, po određenim terminima, za svaki sustav
g) sve odgovarajuće informacije, podatke o ispitivanju, reference, izračune, detaljnu analizu u vidu dodataka.
Na ovom mjestu, potrebno je ukazati na to kako se pregled utroška energije može pretvoriti u izvješće koje ne slijedi predloženi format. U nekim situacijama, pregled utroška energije može biti zaustavljen tijekom provedbe iz opravdanih razloga. Stoga, izvješće se mora usredotočiti na:
1. što se stvarno dogodilo
2. izmjene u predloženim planovima rada
3. praćenje potrebnih radnji.
Provedba mjera na štednji energije
1. Zaustaviti utvrđene gubitke energije poduzimanjem korektivnih mjera
2. Tražiti odobrenje uprave za predložene projekte kao i odgovarajući zahtjev za ulaganjem
3. Preispitati nacrt svih novih kapitalnih projekata kako bi se osiguralo da taj nacrt uključuje učinkovito korištenje energije
4. Provoditi odobrene projekte.
Nadzor, ocjena i praćenje učinaka mjera/projekata za uštedu energije
Općenito, organizacije ovoj fazi ne poklanjaju osobitu pozornost. Tek kada mjere pođu jako loše, uprava poklanja pozornost i počinje tražiti da joj se dostave pojedinosti.
Direktor za energiju, bez obzira na rezultate, mora nadzirati i mjeriti učinke mjera za štednju energije. Jedan je od načina da prati:
- korištenje energije po jedinici proizvodnje po mjestu nastanka troškova
- korištenje energije po jedinici proizvodnje, na razini tvornice
Slika 1.16. prikazuje tipični grafikom praćenja.
Nadalje, razmatranje učinaka složenijih promjenljivih sredstava i modela za energiju po jedinici proizvodnje:
- usporedbom produkta energije po jedinici u prethodnom radu i teoretski proizvod energije po jedinici
- promatranjem učinka mjera za štednju energije na vaše smanjenje energije po jedinici proizvodnje
- istraživanjem, utvrđivanjem i uklanjanjem uzroka povećanja do kojeg može doći u vašoj energiji po jedinici proizvodnje, kadgod je to moguće.
Prije svega, direktor za energiju mora osigurati da kanal za komuniciranje bude uvijek otvoren kako prema glavnoj upravi tako i prema onima na nižim razinama organizacije. Povremeno izvješće o napredovanju mora biti dostavljeno glavnoj upravi.
Ocjena programa za štednju energije
Dok stječete iskustvo u radu na pregledu utroška energije i poboljšavate učinkovitost vašeg korištenja energije, činite sljedeće:
- ocjenjujte napredak ili postignuća u štednji energije
- analizirajte izvorne ciljeve i po potrebi ih mijenjajte
- pravite izmjene u programu
- savjetodavne usluge (tehnička pomoć), održavajte blisku suradnju s trgovinskim udrugama ili industrijskim grupacijama,
- financijske poticaje za opremu i proces koji štede energiju kao što su korištenje otpadne topline i otpadnih proizvoda, povećavajući produktivnost sustava, kombinirane toplinske i elektro-sustave itd.
- surađujući s ustanovama i vladinim agencijama glede informacija o mogućnostima, dobiti i tehnologijama, infrastrukturi, licencija za proces, poticaja povezanih s punom zamjenom.
Nastavite s vašim aktivnostima na štednji energije i uvijek u to uključujte vaše zaposlenike. Imajte na umu da vaše rukovodeće osoblje predstavlja ključ za uspjeh vašeg programa za štednju energije.
Dodatci
Dodatak 1. Popis provjera mogućnosti za štednju energije
I. ZGRADE I OKUĆNICE
- Smanjite zrak za ventilaciju
- Povećajte odbijanje svjetlosti od zidova i stropova
- Smanjite temperaturu pogonske tople vode
Smanjite izvlačenje zraka iz objekta kao i nadomjesni zrak
- Ugasite klimatizaciju izvan radnog vremena
- Ugradite vremenske prekidače za rasvjetu u prostorijama koje se rijetko koriste
- Prebacite izravnu rasvjetu u fluorescentnu, živinu, natrijevu ili rasvjetu visoke jakosti
- Povremeno baždarite osjetila za upravljanje rešetkama za zrak i oduškama na zgradama
- Čistite kondenzatore za hlađenje zraka za klimatizaciju kako bi smanjili konjsku snagu kompresora - provjerite obradu rashladne vode
- Smanjite veličinu rešetki za zrak, prašinu i spirale za hlađenje, kako bi se smanjio otpor zraka
- Izbjegavajte dovod jako vlažnog ispušnog zraka u sustav za klimatizaciju
- Klimatizirajte samo prostore koji se koriste
- Zamijenite vrata sa zračnom zavjesom čvrstim vratima
II. ELEKTRIČNA ENERGIJA
- Provjerite snagu žarulja u vatima
- Isključite nepotrebnu vanjsku ukrasnu rasvjetu i neonske reklame u krugu
- Smanjite rasvjetu oko objekata
- Koristite sunčevu svjetlost za rasvjetu
- Isključite klimatizaciju izvan radnog vremena i neradnih dana
- Dobro pritegnite remene na elektromotoru
- Izbjegavajte da voda uđe u kaleme elektromotora kako bi izbjegli kvar i 127 promijenite nazivne vrijednosti elektromotora u tvornici
- Ograničite električnu energiju na opskrbu strujom, rasvjetom i samo specijalnih toplinskih procesa
- Svedite na minimum rad elektromotora bez opterećenja
- Koristite kombinirani ciklus generatora s plinskom turbinom s kotlovima na otpadnu toplinu spojene na izlaz iz turbine
- Zamijenite parne mlaznice na vakuum sustavima s vakuum crpkama na elektromotorni pogon
- Odredite snagu elektromotora kako bi postigli vršnu pogonsku učinkovitost - koristite najdjelotvorniji tip elektromotora
- Koristite smanjenje pritiska pare za proizvodnju energije
- Smanjite prekomjerni kapacitet transformatora
- Osigurajte odgovarajuće održavanje i podmazivanje opreme na motorni pogon
- Imajte u vidu energetsku učinkovitost kad nabavljate novu opremu
- Koristite motore s više brzina za promjenljiva opterećenja crpke, uređaja za dovod zraka i kompresora
III. PARA
- Isključite prateći cjevovod za grijanje kad nije hladno vrijeme
- Održavajte parne mlaznice koje se koriste za vakuum sustav
- Popravite oštećene izolacije na parovodima
- Popravite ili zamijenite kolektore pare (traps)
- Razmotrite zamjenu elektromotora s turbinama na povratni pritisak i koristite izlaznu paru za vlastito toplinu
- Stalno provjeravajte procesnu paru
- Izbjegavajte skupa vršna opterećenja odgovarajućim rasporedom rada
- Smanjite gubitke kod distribucije plina:
a) održavati izolaciju u dobrom stanju
b) provjeravati ventile, armature i spojeve da bi se izbjegli gubitci topline
c) zatvoriti parovode koji se ne koriste
d) koristiti odgovarajuće dimenzije cijevi
e) održavati odgovarajući dovod pare različitim korisnicima
- Ugraditi instrumente za nadzor temperature i tlaka u procesu
- Izbjegavati gubitak topline na mjestu korištenja
- Poboljšati učinkovitost prijenosa topline na mjestu korištenja pare:
a) ugraditi odvajač pare radi otklanjanja vlage
b) ugraditi ručni zračni ventil ili automatske oduške zraka da bi uklonili nakupljeni zrak na mjestima gdje se nalazi par
- Prikupiti toplinu koja je izašla iz procesnih postrojenja:
a) kondenzat kao napajanje kotla
b) niskotlačnu paru za procese s nižim tlakom
- Cjevovod za povrat kondenzata mora biti odgovarajuće izolirana
- Paziti da oprema, instrumenti itd. funkcioniraju kako treba kroz bolje održavanje i brigu
- Regulirati kolone za destilaciju da rade u uvjetima blizu prelijevanja radi što veće učinkovitosti separacije
- Dodati kolektore (traps) na kolonu za destilaciju kako bi se smanjio omjer povratnog toka
- Izolirati cijevi za kondenzat i paru
- Svesti na najmanju mjeru ispuhavanje kotla uz bolju obradu napojne vode
- Koristiti minimalni radni pritisak pare
- Zamijeniti barometarske kondenzatore površinskim kondenzatorima
- Maksimalno poboljšati rad više-faznih vakuum mlaznica pare
- Koristite optimalnu debljinu izolacije
- Koristite nadzor omjera povratnog toka umjesto nadzora toka na tornjevima za destilaciju
- Zamijenite tekućine vrućeg procesa parom
IV. OSTALI ENERGENTI
- Redovito uklanjajte nečistoće iz cijevi za vodu
- Isključite rashladnu vodu kada nije potrebna
- Redovito čistite ili zamijenite zračne filtre
- Ugradite odgovarajuća sušila na cijevi za zrak da se izbjegne pad tlaka
- U određenim situacijama procijeniti hlađenje vode u odnosu na hlađenje zrakom
- Izbjegavajte hlađenje procesne vode koja se poslije mora zagrijavati i obratno
- Koristiti što manje rashladne vode za ležajeve
- Zamijeniti predimenzionirane motore i crpke optimalnim veličinama
- Svesti temperaturu tople vode na potrebni minimum
- Smanjiti količinu obrađene vode
V. OBNAVLJANJE TOPLINE
- Koristite nadzemni kondenzator za pogon pare iz kondenzatora u procesu destilacije
- Koristite topli dimni plin u isijavajućem grijaču za uređaje za sušenje, peći itd.
- Koristite toplinu iz dimnih plinova za predgrijavanje proizvoda ili materijala koji idu u peći, uređaje za sušenje itd.
- Koristite vruće dimne plinove za predgrijavanje otpada za kotlove za sagorijevanje
- Koristite obnovljenu toplinu iz rasvjetnih tijela u korisne svrhe, tj. za pogon rashladne opreme za apsorpciju
VI. ZADRŽAVANJE TOPLINE
- Popravite oštećenu izolaciju na pećima, kotlovima itd.
- Koristite ekonomičnu debljinu izolacije za niske temperature
- Koristite meku izolaciju u kružnim pećima (cycling) kako bi olakšali zagrijavanje i hlađenje
- Popravljate peći i vrata na pećima tako da budu dobro zabrtvljena.
VII. SAGORIJEVANJE
- Svakodnevno izrađujte izračun i grafičke prikaze kotla
- Napravite plan održavanja gorionika
- Podesite gorionike da učinkovito rade
- Poboljšajte sposobnost nadzora sagorijevanja
- Zagrijavajte ulje na odgovarajuću temperaturu radi dobre atomizacije
- Odstranite gorivi plin iz dimnog plina
- Svedite protok zraka za sagorijevanje na optimum
- Pretvoriti zapaljivo u učinkovitije gorivo
- Zamijeniti zastarjele gorionike učinkovitijima
- Koristiti otpad i nusproizvode kao gorivo
- Ograničiti i nadzirati zrak za sekundarno sagorijevanje u radu peći na količinu koja je prikladna za normalan rad peći
VIII. PLANIRANJE
- Isključite opremu za procesno grijanje kad nije u upotrebi
- Utvrdite uzroke troškova potražnje za električnom energijom i reprogramirajte rad postrojenja da bi se izbjegla vršna opterećenja
- Smanjite temperaturu procesne opreme za grijanje kad je na čekanju
- Koristite učinkovitiju opremu u svom maksimalnom kapacitetu, a manje učinkovitu opremu samo kad je to potrebno
- Zagrijavajte dijelove za obradu samo u skladu s odgovarajućim specifikacijama ili standardima
- Planirajte redovno održavanje u vrijeme kad oprema nije u radu
- Razmotrite tri ili četiri dana neprekidnog rada umjesto jedne ili dvije smjene dnevno
- Optimizirajte veličinu dijelova proizvodnje i inventura.
IX. RUKOVANJE OPREMOM
- Isključite transportere, viličare itd. kad se ne koriste
- Podešavati i održavati viličare spremne za što učinkovitiji rad
- Ugasiti dizel građevinske strojeve kad nisu potrebni
- Koristite opremu s optimalnim veličinama i kapacitetima
- Poboljšati transportere
- Koristite napajanje putem gravitacije gdje god je to moguće
X. OTPREMA, DISTRIBUCIJA I PRIJEVOZ
- Planirajte redovito održavanje kako bi se održala učinkovitost motora kamiona
- Ugasite motor kamiona tijekom utovara, istovara ili čekanja
- Odredite veličine kamiona prema poslu
- Smanjite plan isporuka
- Konsolidirajte isporuke
- Ugradite brtve oko vrata rampe za utovar kamiona
- Nađite što kraći put kamiona za isporuke kako bi se smanjila kilometraža
- Procijenite korištenje energije kod pakiranja
XI. IZMJENE U PROCESU
- Planirajte vrijeme pečenja malih i velikih dijelova kako bi se smanjilo korištenje energije
- Koristite rješenje rekompresije pare u procesima destilacije
- Koristite načelo "vučenja sa strane" (side draw) kod projektiranja kolone za destilaciju
- Koristite neprekidnu opremu koja zadržava transportere za procesno grijanje u okviru grijane komore
- Koristite izravno djelovanje plamena ili infracrvenu obradu kod grijanja tipa komore
- Pretvorite posredno paljenje u izravno paljenje
- Pretvorite rad po šaržama u neprekinuti rad
- Koristite peći tipa vretena za predgrijavanje ulaznog materijala
- Pretvorite grijače tekućine iz onih s paljenjem ispod u ono koje se uranja ili potapa u tekućinu
- Promijenite dizajn proizvoda da bi se smanjile potrebe za energijom za obradu
- Smanjite proizvodnju s greškom
- Poboljšajte zastarjelu ili malo korištenu opremu
- Svedite na najmanju mjeru nebitni materijal u procesu toplinske obrade
Zgradarstvo - Grijanje i hlađenje
U ovom poglavlju naučit ćemo nešto o energetkoj efikasnosti zgrada, kako je to kod nas, a kako u Europi, o pravilima tehničkih mjera zaštite, energetskim certifikatima, izolacijama zgrada, i svemu ostalim vezanim uz to.
Slika 1. Sektor zgradarstva je najveći pojedinačni potrošač energije i odgovoran je za preko 40% ukupne potrošnje energije.
U sektoru zgradarstva leži i najveći potencijal energetskih ušteda (min. 22% sadašnje energetske potrošnje do 2010. godine)
Slika 2. Potrošnja energije za grijanje prostora i grijani prostor u Danskoj.
Slika 3. Debljina izolacije zidova u pojedinim zemljama
Slika 4. Gubitak topline kroz zidove, te debljina izolacije
Europsko udruženje proizvođača toplinske izolacije Eurima u suradnji s internacionalnom tvrtkom Ecoys napravili su analizu gubitaka toplinske energije kroz pojedine konstrukcije u zgradama EU, te analizu primjenjenih debljina toplinske izolacije na istim konstrukcijama.
Tablica 1. Koeficijenti prolaza topline, k (W/m2 oK)
| Vanjsku zid | Pod | Strop | |
|---|---|---|---|
| Švicarska | 0.4 | 0.4 | 0.4 |
| Švedska | 0.3 | 0.3 | 0.3 |
| Njemačka | 0.38 | 0.3 | 0.38 |
| Danska | 0.27 | 0.3 | 0.2-0.3 |
| Engleska | 0.45 | 0.45 | 0.25-0.45 |
| USA | 0.47 | 0.58 | 0.22 |
| Hrvatska | 0.9 | 0.75 | 0.8 |
Slika 5. Građevinske klimatske zone u RH.
Slika 6. Vrijednosti dozvoljenog koef. prolaza topline k (W/m2 oK) prema propisima o toplinskoj zaštiti u RH od 1970. do danas.
- 1970. Pravilnik o tehničkim mjerama i uvjetima za toplinsku zaštitu zgrada
Prvi propis o toplinskoj zaštiti zgrada, određene su najveće dozvoljene vrijednosti koeficijenta prolaza topline k za pojedine građevne elemente za određenu klimatsku zonu
- 1980. Norma JUS U.J5.600 toplinska tehnika u građevinarstvu, tehnički uvjeti za projektiranje i građenje zgrada
- 1987. Inovirano izdanje norme JUS.U.J5.600 toplinska tehnika u građevinarstvu, tehnički uvjeti za projektiranje i građenje zgrada
Propisivanjem najvećih specifičnih transmisijskih toplinskih gubitaka zgrade i dopuštenih toplinskih gubitaka provjetravanjem osigurava se racionalna uporaba toplinske energije
Trenutno važeći propisi o uštedi energije i toplinskoj zaštiti kod zgrada u Hrvatskoj–iz 1987.g. (danas HRN U.J5.600)
Zakon o gradnji (N.N. 175/03 i 100/04) Članak 12. Ušteda energije i toplinska zaštita “Građevina i njezini uređaji za grijanje, hlađenje i provjetravanje moraju biti projektirani i izgrađeni na način da, u odnosu na mjesne klimatske prilike, potrošnja energije prilikom njihovog korištenja bude jednaka propisanoj razini ili niža od nje, a da za osobe koje borave u građevini budu osigurani zadovoljavajući toplinski uvjeti
Novi Tehnički propis o uštedi energije i toplinskoj zaštiti kod zgrada Tehnički propis o uštedi energije i toplinskoj zaštiti kod zgrada] - u izradi
Dio koji se odnosi na uštedu toplinske energije propisivanjem dopuštene godišnje potrošnje toplinske energije za grijanje po m2 grijane površine (omogućena je fleksibilnost kod projektiranja) Dio koji se odnosi na toplinsku zaštitu propisivanjem najvećih dopuštenih vrijednosti koeficijenata prolaza topline za pojedine građevne elemente zgrade propisivanjem dinamičkih toplinskih značajki pojedinih građ. elemenata Pravilnik o olakšicama za održivu gradnju – u izradi
Usklađivanje s europskim zakonodavstvom.
Direktive na ovom području:
- 89/106/EEC od 21. 12. 1988. O usklađivanju zakonskih i upravnih propisa država članica o građevnim proizvodima.
- 93/76/EEC od 13. 09. 1993. O ograničavanju emisija ugljikovog dioksida kroz učinkovito korištenje energije.
- 2002/91/EC od 16. 12. 2002. O energetskoj učinkovitosti zgrada.
Pet bitnih zahtjeva direktive 2002/91/EC
- Uspostava općeg okvira za metodologiju proračuna energergetskih karakteristika zgrada
- Primjena minimalnih zahtjeva energetske efikasnosti za nove zgrade
- Primjena minimalnih zahtjeva energetske efikasnosti za postojeće zgrade prilikom većih rekonstrukcija (korisne površine iznad 1000 m2)
- Energetska certifikacija zgrada
- Redovite inspekcija kotlova i sustava za kondicioniranje zraka u zgradama
Slika 7. Energetski certifikat
Energetski certifikati za zgrade na tržištu s podacima o godišnjoj potrošnji energije, koji će biti dostupni svim zainteresiranim strankama, trebali bi postati suvremeno sredstvo marketinga koje će pokrenuti tržište i građevinsku industriju prema značajnom povećanju energetske efikasnosti.
Slika 8. Energetske potrebe kuća u kWh/m2.
Slika 9. Toplinski gubici
Slika 10. Primjer gradnje vanjskog zida različite debljine i potrošnja goriva po sezoni
Slika 11. Primjer gradnje vanjskog zida različite debljine i potrošnja goriva po sezoni
Slika 12. Primjer gradnje vanjskog zida različite debljine i potrošnja goriva po sezoni
Slika 13. Primjer gradnje vanjskog zida sa izolacijom i potrošnja goriva po sezoni
Slika 14. Prikaz prolaza topline kroz zid pri različitim izvedbama gradnje i izoliranja
Opis sustava:
1. Unutarnja žbuka (VC 40, GV 10)
2. Zid
3. Sokl profil
4. Poliesterska ploča
5. Pričvrsnica
6. Kutni profil s mrežicom
7. Samoterm® / Samoterm® glet
8. Armirajuća staklena mrežica SM-28F
9. Impregnacija i završno dekorativne žbuke
Slika 15. Izgled sustava opisanog iznad
Tablica 2. Vrijednosti koeficijenta prolaza topline k (U) W/(m2K)
| Zid | Gustoca | Koef.Topl.Provod. | Debljina zida | Fasadni zid sa TERMOZOL sustavom različitih debljina ploča | ||||
|---|---|---|---|---|---|---|---|---|
| Bez izolacije | 5cm | 6cm | 8cm | 10cm | ||||
| kg/m3 | W/(mK) | cm | W/(m2K) | |||||
| Beton | 2400 | 2.04 | 15 | 4.11 | 0.68 | 0.59 | 0.46 | 0.37 |
| 20 | 3.73 | 0.67 | 0.58 | 0.45 | 0.37 | |||
| Blok opeka | 1400 | 0.61 | 19 | 2.08 | 0.59 | 0.51 | 0.41 | 0.34 |
| 29 | 1.55 | 0.54 | 0.47 | 0.39 | 0.32 | |||
| Puna opeka | 1600 | 0.64 | 25 | 1.78 | 0.56 | 0.49 | 0.40 | 0.33 |
| 38 | 1.31 | 0.50 | 0.45 | 0.37 | 0.31 | |||
| Porobeton | 800 | 0.35 | 20 | 1.35 | 0.51 | 0.45 | 0.37 | 0.31 |
| 25 | 1.13 | 0.48 | 0.43 | 0.35 | 0.30 | |||
| 30 | 0.97 | 0.45 | 0.40 | 0.34 | 0.29 | |||
| Betonski blok | 1600 | 0.74 | 19 | 2.34 | 0.61 | 0.53 | 0.42 | 0.35 |
| 25 | 1.97 | 0.58 | 0.51 | 0.41 | 0.34 | |||
| 29 | 1.78 | 0.56 | 0.49 | 0.40 | 0.33 | |||
Opis sustava:
1 Unutarnja žbuka (VC 40, GV 10)
2 Zid
3 Sokl profil
4 Lamele kamene vune
5 Kutni profil s mrežicom
6 Samoterm®
7 Armirajuća staklena mrežica SM-28
8 Impregnacija i završno dekorativne žbuke
Slika 16. Izgled sustava prethodno opisanog gore
Tablica 3. Vrijednosti koeficijenta prolaza topline k (U) W/(m2K)
| Zid | Gustoca | Koef.Topl.Provod. | Debljina zida | Fasadni zid sa TERMOZOL sustavom različitih debljina ploča | ||||
|---|---|---|---|---|---|---|---|---|
| Bez izolacije | 5cm | 6cm | 8cm | 10cm | ||||
| kg/m3 | W/(mK) | cm | W/(m2K) | |||||
| Beton | 2400 | 2.04 | 15 | 4.11 | 0.68 | 0.59 | 0.46 | 0.37 |
| 20 | 3.73 | 0.67 | 0.58 | 0.45 | 0.37 | |||
| Blok opeka | 1400 | 0.61 | 19 | 2.08 | 0.59 | 0.51 | 0.41 | 0.34 |
| 29 | 1.55 | 0.54 | 0.47 | 0.39 | 0.32 | |||
| Puna opeka | 1600 | 0.64 | 25 | 1.78 | 0.56 | 0.49 | 0.40 | 0.33 |
| 38 | 1.31 | 0.50 | 0.45 | 0.37 | 0.31 | |||
| Porobeton | 800 | 0.35 | 20 | 1.35 | 0.51 | 0.45 | 0.37 | 0.31 |
| 25 | 1.13 | 0.48 | 0.43 | 0.35 | 0.30 | |||
| 30 | 0.97 | 0.45 | 0.40 | 0.34 | 0.29 | |||
| Betonski blok | 1600 | 0.74 | 19 | 2.34 | 0.61 | 0.53 | 0.42 | 0.35 |
| 25 | 1.97 | 0.58 | 0.51 | 0.41 | 0.34 | |||
| 29 | 1.78 | 0.56 | 0.49 | 0.40 | 0.33 | |||
Slika 17. Prikaz gradnje vanjskog zida i izolacija
Slika 18. Slojevi izolacijskog materijala, te završna obrada
Slika 19. Kontaktna fasada od plinobetona
Slika 20. Pod na tlu. PVC pod
Slika 21. Međukat. PVC pod
Slika 22. Izolacija potkrovlja
Slika 23. Izgled današnje cigle
Slika 24. Primjer reklame, za gradnju današnjom ciglom
Slika 25. Prikaz potrošnje lož ulja, s obzirom na vrstu stakla, i njegova izolacijska svojstva
Slika 26. Presjek i profil stakla
Slika 27. Poslovna zgrada HEP Elektra Koprivnica (Sanacija vanjske ovojnice zgrade) prije 240 kWh/m2......sada 70 kWh/m2 (Energetski institut Hrvoje Požar, Odjel za obnovljive izvore energije i energetsku efikasnost, Željka Hrs Borković, dipl.ing.arh.)
Tablica 4. Cijena energenata za grijanje kućanstava, prema gradskoj plinari, 1998.
| Energent | Jedinica mjere | Energetska vrijednost | Stupanj iskorištenja h | Prodajna cijena | Cijena bez h | Cijena bez h | Indeks sa h | |
|---|---|---|---|---|---|---|---|---|
| Prirodni plin | m3 | 33.338 | 0.8 | 1.56 | 0.047 | 0.058 | 100 | |
| Drvo za loženje | kg | 14.83 | 0.5 | 0.48 | 0.032 | 0.065 | 112 | |
| Ugljen mrki | kg | 20.1 | 0.5 | 0.82 | 0.041 | 0.082 | 142 | |
| Propan-butan u kontejnerima | kg | 48.443 | 0.8 | 3.26 | 0.067 | 0.084 | 145 | |
| Ekstralako (fco rafinerija) | kg | 41.2 | 0.6 | 2.69 | 0.065 | 0.109 | 188 | |
| Ekstralako (Sisak-Zagreb) | kg | 41.2 | 0.6 | 2.76 | 0.067 | 0.112 | 193 | |
| Ekstra-lako (Rijeka-Zagreb) | kg | 41.2 | 0.6 | 2.8 | 0.068 | 0.113 | 195 | |
| Ugljen lignit | kg | 12 | 0.5 | 0.69 | 0.058 | 0.115 | 199 | |
| Propan-butan (bez dostave) | kg | 48.443 | 0.8 | 4.63 | 0.096 | 0.12 | 207 | |
| Propan-butan (s dostavom) | kg | 48.443 | 0.8 | 4.7 | 0.097 | 0.121 | 209 | |
| Propan-butan (ambulatna prodaja) | kg | 48.443 | 0.8 | 4.81 | 0.099 | 0.124 | 214 | |
| Električna energija (2-tarifna) | kWh | 3.601 | 0.9 | 4.25 | 0.118 | 0.131 | 226 | |
| Električna energija (prosjek) | kWh | 3.601 | 0.9 | 4.72 | 0.131 | 0.146 | 252 | |
| Električna energija (1-tarifna) | kWh | 3.601 | 0.9 | 5.75 | 0.16 | 0.178 | 307 | |
| Izvor: Gradska plinara Zagreb |
Toplinska izolacija je važan faktor za postizanju energetske efikasnosti u zgradarstvu. Osim ušteda zbog manje potrošnje goriva te vezano s tim i manje emisije plinova u okoliš, toplinskom izolacijom se još postiže ugodna i ujednačena klima stanovanja (bolja kvaliteta života), rješava se plijesni, povećava se trajnost konstrukcija, sprečava se kondenzacija u unutrašnjosti i međupodručjima, smanjuju se dilatacije građevinskih elemenata i pukotina.
Kućanski aparati
Uvod
Kućanski aparati troše oko 20% električne energije od ukupne energije koju troši jedno kućanstvo. Među najveće potrošače spadaju hladnjaci i perilice rublja. Pri kupnji novog uređaja treba osim cijene samog aparata pozorno pogledati i kakve karakteristike ima uređaj. U većini slučajeva je bolje kupiti skuplji uređaj koji troši učinkovitije električnu energiju. Budući da kućanski aparati spadaju među veće potrošače električne energije postoje mnogi pravilnici o tome koje uvijete trebaju zadovoljavati. Recimo aparati stari 10 godina troše oko 50% električne energije više od ovih novih. Tako se uštede struje mogu smatrati kao mjesečne rate kojim otplaćivamo aparat tokom njegovog životnog vijeka.
Među najznačajnije kućanske aparate spadaju:
- hladnjake i ledenice, te njihove kombinacije;
http://powerlab.fsb.hr/osnoveenergetike/wiki/images/c/c1/Hladnjak.jpg
Slika 28. Hladnjak
- bubnjaste sušilice rublja,
http://powerlab.fsb.hr/osnoveenergetike/wiki/images/1/1d/Slika.jpg
Slika 30. Bubnjasta sušilica rublja
- električne pećnice;
http://powerlab.fsb.hr/osnoveenergetike/wiki/images/e/e6/Stednjak.jpg
Slika 32. Električna pećnica
- električne izvore svjetla napajane direktno iz mreže.
http://powerlab.fsb.hr/osnoveenergetike/wiki/images/1/10/Stedne_zarulje.jpg
Slika 34. Štedna žarulja
Prosječni životni vijek za najčešće kućanske aparate:
Zamrzivač: 20 godina, Hladnjak: 19 godina, Štednjak : 18 godina, Perilica rublja : 14 godina, Perilica suđa: 14 godina, Električni bojler: 13 godina, Plinski bojler: 12 godina, Mikrovalna pećnica: 10 godina.
Klasa energetske efikasnosti i označavanje kućanski aparata
Prilikom odabira kućanskih uređaja često je glavni kriterij početna cijena uređaja. Rijetki gledaju kakva je klasa uređaja te koliko troše odnosno štede energiju. Svrha energetskih klasa, koje prema Pravilniku o označavanju energetske učinkovitosti kućanskih uređaja službeno moraju imati perilice i sušilice za rublje, perilice za suđe, električne pećnice, hladnjaci i ledenice, klimatizacijski uređaji te žarulje s direktnim napajanjem iz električne mreže jest informirati kupca o tome koliko učinkovito taj uređaj iskorištava električnu energiju i vodu te o razini buke koju prilikom rada taj uređaj proizvodi. Naime hladnjak s oznakom A sigurno troši manje energije od onoga označenog oznakom D, ili perilica za rublje klase A troši manje vode i struje od onih označenih sa E ili F.
http://powerlab.fsb.hr/osnoveenergetike/wiki/images/c/c6/Oznaka.jpg
Slika 35. Oznaka energetskih klasa
Najbolji primjer za ilustraciju ušteda bilo bi odabrati dva hladnjaka s frizerom sličnih volumena, a različitih energetskih klasa. Tako ako tipični hladnjak srednje veličine s malim frizerom klase C bude u startu 500 kuna jeftiniji od vrlo sličnog modela energetske klase A, ali zato godišnje potroši struje u vrijednosti od oko 300 kuna, za razliku od hladnjaka klase A koji potroši električne energije u vrijednosti od 200 kuna. Iz proračuna očito je da će se tih 500 kuna razlike koje ste početno izdvojili isplatiti unutar 5 godina, a kako je životni vijek hladnjaka 10 do 15 godina, to unutar životnog vijeka označava ukupnu uštedu na električnoj energiji od 500 do 1000 kuna. Slične uštede moguće je izračunati i za druge kućanske uređaje, ako su poznati podaci o potrošnji s oznaka energetske učinkovitosti i koliko se često uređaj koristi. Kod perilica za rublje i suđe, tako osim uštede električne energije treba uzeti u obzir i uštedu vode, dok perilice sa sušilicom ili samostojeće ledenice rijetko, zbog visoke potrošnje električne energije, postižu energetsku klasu A. Ponekad se, također, zna dogoditi da od dva slična modela onaj više energetske klase bude čak i jeftiniji.
Potrošači prilikom kupnje mogu tražiti da se jasno istakne oznaka aparata ukoliko nije vidljiva. Naravno preporuča se kuonja uređaja koji imaju klasu A i A+.
http://powerlab.fsb.hr/osnoveenergetike/wiki/images/f/f0/Tumaoznake.jpg
Slika 36. Ozanaka energetske klase hladnjaka
Detalji oznake prema slikovnom prikazu imaju sljedeće značenje:
- I. Ime ili trgovačka oznaka dobavljača
- II. Dobavljačeva oznaka tipa/modela
- III. Razred energetske učinkovitosti.
- IV. Mjesto predviđeno za označavanje posebnim oznakama (u vezi zaštite okoliša i sl.)
- V. Potrošnja energije u skladu s HRN EN 153 izražena u kWh/godina (tj. za 24 sata × 365 dana);
- VI. Ukupni neto smještajni obujam svih odjeljaka za svježe namirnice koji ne podliježu označavanju zvjezdicama (tj. radna temperatura -6°C);
- VII. Ukupni neto smještajni obujam svih odjeljaka za smrznute namirnice koji podliježu označavanju zvjezdicama (tj. radna temperatura -6°C);
- VIII. Označavanje zvjezdicama odjeljaka za smrzavanje namirnica u skladu s prihvaćenom regulativom;
- IX. Podaci o izmjerenoj razini buke (ako su raspoloživi).
Kako uštedjeti električnu energiju
Štedne žarulje
Štedne žarulje već odavno nisu nešto nepoznato, i nedostižno. Danas se mogu kupiti gotovo u svakoj trgovini mješovite robe. Kao i s kućanskim aparatima problem je što je početna cijena štednih žarulja do 5 puta veća od cijene običnih žarulja. Mnogi kupci ne čitaju sa strane gdje piše da je štedne žarulje troše do 7 puta manje te im je životni vijek do 4 puta duži od običnih žarulja.Ipak, nije svejedno koje štedne žarulje se odlučujemo kupiti, te se preporuča kupnja štednih žarulja renomiranih proizvođača i višeg energetskog razreda koje dolaze s garancijom i mogućnošću zamjene u razumnom roku. Jeftinije štedne žarulje, naime, često imaju znatno kraći životni vijek, a kako s njima ne dolazi garancija, nema niti mogućnosti zamjene ako se dogodi da im životni vijek bude smiješno kratak.Prednosti korištenja štednih žarulja već su postale tema i u političkim krugovima, pa je, recimo, Australija već odlučila do 2010. godine zabraniti i iz upotrebe izbaciti klasične žarulje sa žarnom niti, a na tragu takve odluke je i Europska unija, koja bi uvidjela da bi uvođenjem sličnih mjera za kućanstva i uslužne djelatnosti kroz uštedu energije značajno smanjila emisije stakleničkih plinova.
Hladnjaci
- Postavite hladnjake i ledenice na što hlađnijem mjestu u kući (nikako u blizini štednjaka ili bojlera) te izbjegavajte izloženost hladnjaka i ledenica sunčevom zračenju
- Prilikom postavljanja hladnjaka i ledenica obavezno ostavite dovoljno prostora za prozračivanje između stražnjeg dijela uređaja i zida (oko 10 centimetara) kako ne bi došlo do pregrijavanja koje rezultira povečanjem potrošnje energije
- Ne držite hladnjak otvorenim dulje no što je neophodno i dobro zatvorite vrata hladnjaka nakon korištenja
- Nemojte spremati u hladnjake i ledenice vruća ili topla jela (pričekajte da se ohlade)
- Pravovremeno odleđujte hladnjake i ledenice jer tako štedite energiju i produžavate radni vijek uređaja (Čiščenje ledenice je potrebno kad debljina leda prijeđe pola centimetra)
- Kod odabira hladnjaka pripazite da ne kupite preveliki - pravilo je ovakvo: za dvije odrasle osobe dovoljan je hladnjak obujma 120-180 litara, a za svakog dodatnog člana obitelji dodajte još 20 litara.
Štednjaci
- Uvijek stavljajte poklopce na posude u kojima se kuha - na taj se način toplina dulje zadržava u posudi a smanjuje kondenzacija pare po kuhinji
- Prilikom pripreme kave i čaja zagrijavajte samo potrebnu količinu vode
- Uvijek koristite veličinom optimalno grijače kolo za odabranu posudu
- Mikrovalne pećnice su energetski efikasnije od običnih pećnica
- Prilikom kuhanja na plinskom štednjaku pripaziti da plamen ne bude prejak i da ne kruži oko posude
- Nikada ne zagrijavajte praznu grijaču ploču, a kratko vrijeme prije nego je jelo gotovo isključite grijaču ploču - grijača ploča će ostati topla, jelo će se nastaviti kuhati, a vi ćete smanjiti potrošnju električne energije i uštedjeti novac.
- Vrata pećnice otvarajte samo po potrebi - svaki put kada ih otvorite značajna količina topline odlazi u nepovrat.
- Redovito čistite pećnice i električna grijaća kola jer nakupljena i zapečena prljavština i masnoća smanjuje njihovu učinkovitost
Perilice i sušilice rublja
- Uvijek odabrati program pranja rublja s najnižom temperaturom vode dostatnom da rublje bude kvalitetno oprano
- Energetski je puno efikasnije pranje punog bubnja rublja, nego dva pranja do pola napunjenog bubnja
- Pokušajte prati standardiziranu količinu rublja za određeni tip bubnja (tipično 5-6 kg) jer se u slučaju preopterećenog bubnja rublje neće kvalitetno oprati dok će se u slučaju nedovoljno opterećenog
Stand-by rad uređaja
- TV, video i stereo uređaji, računala i računalna oprema i u stand-by radu troše određenu količinu energije. Samim isključenjem ili iskapčanjem iz struje po jednom uređaju s nekoliko lampica koji bi u stand-by stanju gorio po cijele dane može se uštedjeti i par kuna godišnje.
Zaključak
Kako vidimo prilikom kupnje kućanskih aparata neka vam ne bude kriterij za kupnju početna cijena uređaja nego karakteristike samog uređaja. Nadamo se da smo vam ovim savjetima predočili koliko se može uštedjeti energije te tako sudjelovati u smanjenju potrošnje u svijetu. To znači da sudjelujete i u smanjenju emisije na svijetu. Zamjenite vaše stare uređaje, kojih se danas besplatno možete riješiti, te kupite nove i štedljivije.
Energija u uslugama
Transport
Trendovi u transportu
Porast cestovnog transporta - osobna potrošnja i privreda
- porast životnog standarda - stalna težnja za porastom kvalitete života
- pad cijene osobnih vozila (40% manji udio u potrošnji kucanstva u Britaniji) - jedan covjek jedno vozilo
- demasifikacija proizvodnje - decentralizacija transporta
- lean manufacturing - just in time - proizvodnja bez zaliha - daljnja decentralizacija transporta
- - cca. 28% emisije CO2 - ocekuje se daljnji rast porastom kupovne moci u zemljama u razvoju
|
| |
Granice porasta cestovnog prometa
- jedan čovjek jedno vozilo, više sati dnevno - krajnja granica
- congestion - granica realnog sistema
Štete od posljedica takvog rasta cestovnog prometa
- problem zagađenja i efekta staklenika - smanjenje kvalitete života
- smanjenje kvalitete života za one koji provode 4 sata dnevno commuting
- štete za privredu zbog nepravovremene dostave - just in time
Prednosti cestovnog prometa
- fleksibilnost - porast kvalitete života
- individualna pokretljivost - porast kvalitete života
Prednosti i nedostaci željezničkog prometa
- željeznica se danas više javlja kao konkurencija zračnom prijevozu nego cestovnom - TGV, Shinkansen
- optimum 150-600 km - za vlakove velikih brzina
- pogodna za veće tereta - nedovoljno fleksibilna za just in time
- skupa infrastruktura nepodobna za vrlo brze promjene u proizvodnji
Prednosti i nedostaci javnog prijevoza
- cestovni javni prijevoz pati od congestion - autobus, tramway
- problem centraliziranih sustava u zadovoljavanju decentraliziranih potreba - potreba je prijevoz kuća/posao u svim mogućim *kombinacijama - nudi se prijevoz na konačnom broju linija - presjedanje i čekanje kao smanjenje kvalitete života
- per capita manje zagađivanje i potrošnja energije
- smanjenje prometnih zastoja ako se dovoljan broj ljudi prebaci na javni prijevoz
Smanjenje potrošnje goriva povećanjem efikasnosti
- zahvaljujući naftnom šoku i kasnije poreznoj politici konstantno smanjenje potrošnje goriva na 100km
- utjecaj politike na povećanje energetske efikasnosti - zamjena motora s unutrašnjim izgaranjem, hibridnim rješenjima ili postepenim poboljšanjem motora s unutrašnjim izgaranjem
- fuel cell (članak o tome kako funkcioniraju) je možda najbolji kompromis između sve veće potražnje za osobnim vozilima i sve manje tolerancije prema zagađenju - DaimlerChrysler najavljuje prvo vozilo na tržištu 2004 (The Economist) - problemi: visoka cijena (5000 USD/kW), kako uskladištiti vodik, te pitanje koliko su gorive ćelije u stvari uopće ekološko rješenje
- sve o gorivim ćelijama - Boris Adum
Slika 38. Kako radi fuel cell
Slika 39. Emisije stakleničkih plinova iz gorivih ćelija ovisno o načinu dobivanja hidrogena
Congestion dilemma
- congestion = energetski gubitak (+ekonomski gubitak + smanjenje kvalitete života)
- svi žele u istom trenutku doći od kuće do posla i natrag - neefikasnost prometnica
Mogući načini smanjenja
- poboljšanje javnog prijevoza
- poskupljenje vozila - cijena vozila + cijena registracije
- gradnja cesta - problem neefikasnosti
- poskupljenje goriva
- naplaćivanje korištenja cesta - road pricing
Poboljšanje javnog prijevoza
- zbog kolizije javnog prijevoza i stalne potrebe za povećanjem kvalitete života ne daje željene efekte
Poskupljenje vozila
- povećanjem cijene ulaska u krug posjednika vozila smanjuje se broj vozila, ali posjedniku je u interesu maksimalizirati broj kilometara da bi mu se vozilo isplatilo
- primjer Singapura - vozila i do 5 puta skuplja - prosječno 20000 km/vozilu, kao u SAD (The Economist)
- čim kad osoba skupi dovoljno novaca za auto kupuje ga
Gradnja cesta
- problem neefikasnosti cesta - svi na istom mjestu u istom trenutku, a ostalo vrijeme ceste prazne
- gradnja novih cesta samo povećava dalje broj vozila koje ulaze u igru - ograničenje porastu prometa je smatra se dvosatni put do posla ili natrag
There is no space, no money and no appetite for endless road-building. That is why road pricing is coming. ( The Economist)
Naplaćivanje kroz gorivo
- smatra se da bi cijena goriva od 5 DEM po litri tek uspjela održati promet na sadašnjoj razini u Britaniji
- neefikasan način jer kažnjava jednako onoga tko vozi nezagušenom cestom, i dakle obavlja svoju djelatnost efikasno, kao i onoga koji provodi sate u gužvama
- povećava trošak vozilu u zastoju, ali s obzirom da je potreba za određenom cestom u određeno vrijeme eksponencijalna, a porez na gorivo linearan, takav je trošak za vozača zanemariv
- unatoč peterostrukoj cijeni benzina u Evropi (14000 km/vozilu godišnje) problemi s prometom nisu značajno manji nego u SAD (20000 km/vozilu godišnje) - sl. 4
Slika 40. Udio poreza u cijeni benzina
Road pricing
- iluzija javnih cesta - značajna za ekonomsko čudo 20. stoljeća
- ceste se grade iz budžeta - plaćaju i oni koji ih ne koriste
- polako se ipak stvara koncenzus da ceste trebaju plaćati oni koji ih koriste
- fiksno naplaćivanje - registracija vozila
- naplaćivanje srazmjerno pređenim kilometrima - gorivo
- naplaćivanje ulaska u centar grada - primjeri Singapura, Osla i Rige, te Londona
- dinamičko naplaćivanje - naplaćivanje prema social marginal cost
Studies by the World Resources Institute (WRI), an environmental research group, put the social costs of driving in the United States - that is, those not paid directly by motorists - at $ 300 billion a year, or 5.3% of GDP. That works out at about $ 2,000 a year for each car and covers items such as building and repairing roads, loss of economic activity from congestion, the cost of illnesses caused by air pollution and medical care for the victims of 2m accidents a year. Other estimates range up to 12% of GDP for America and 4.6% for Europe. A limited OECD analysis concluded that typical social costs of land transport in most developed countries were at least 2.5% of GDP, with accidents responsible for four-fifths of the costs and air pollution for the remainder. Road vehicles account for nine-tenths of the total. The study excluded congestion and wider aspects of pollution such as acid rain. (The Economist)
RATIONING by queue, rather than by price, is an economic absurdity that should have been buried with the Soviet Union ( The Economist)
Dinamičko naplaćivanje
- naplaćivanje prema konkretnom kilometru konkretne ceste u konkretno vrijeme za konkretno vozilo
- seoske ceste jeftinije od zagušenih gradskih ulica
- cijena koja eksponencijalno ovisi o zagušenju
- cijena koja ovisi o šteti koju konkretno vozilo čini cesti i okolini, prema energetskoj efikasnosti, buci, poluciji, itd.
- elektronički označene ceste i elektronički označena vozila
- centralni sistem
- sistem pretplaćenih kartica
The object of their attentions is Interstate Highway 15, a heavily used north-south motorway. For four hours in the morning and five in the afternoon, on a 13km stretch of I -15 in San Diego, the world’s first, and so far only, experiment in dynamic road pricing can be seen in action. Most of the lanes are free, and move very slowly. Drivers who want a quicker trip can use special toll lanes. But before they do, they had better check the price. The toll on a normal day may be anywhere between 50 cents and $4. It can be adjusted every six minutes by 50 cents, up or down, to ensure a smooth flow of traffic; a car already in the lane when the toll is changed pays the lower rate for its entire passage. If the traffic gets unusually heavy, the charge may go up to as much as $8 for a single trip. (The Economist)
Zaključak
- očekuje se daljnji porast potrošnje energije u prometu
- daljnje povećanje efikasnosti vozila
- povećanje efikasnosti transportnog sustava road pricing politikom














